Sony работает над PSSR 2.0 для PS5 Pro: стабильный FPS без снижения разрешения
Sony не собирается почивать на лаврах после выхода PS5 Pro и уже работает над значительной эволюцией своей технологии масштабирования изображения.
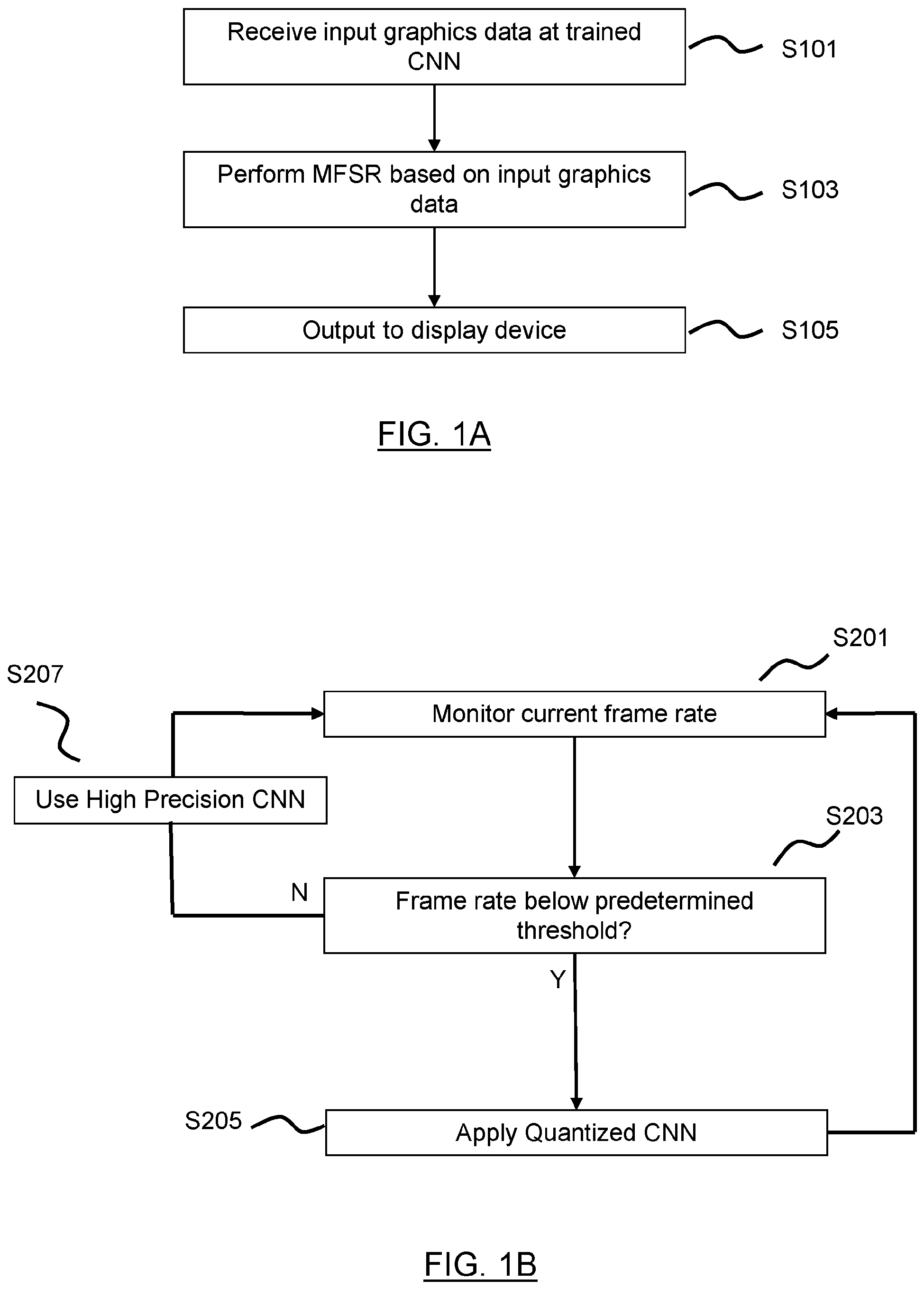
Согласно последнему патенту, найденному в базе Всемирной организации интеллектуальной собственности (WIPO), в разработке находится PSSR 2.0, который должен устранить главные недостатки текущей версии, такие как случайные графические ошибки или необходимость для разработчиков резко снижать базовое разрешение. Марк Черни вместе с инженерами AMD планирует интегрировать ключевые элементы грядущего FSR4 непосредственно в систему PlayStation, что должно принести невиданную ранее стабильность изображения и плавность анимации.
Ключом к успеху новой версии станет технология под названием «квантование в реальном времени». В настоящее время, когда консоль сталкивается с очень требовательной сценой, разработчикам часто приходится спасать частоту кадров (FPS), динамически снижая нативное разрешение. PSSR 2.0 изменит эти правила игры — вместо ухудшения качества исходного изображения система будет интеллектуально ограничивать ресурсы, выделяемые для свёрточных нейронных сетей (CNN), отвечающих за реконструкцию деталей. Когда нагрузка на GPU станет слишком высокой, алгоритм на долю секунды «упростит» свои вычисления, чтобы сохранить стабильную частоту кадров без видимого невооружённым глазом размытия картинки.
Для игроков это означает, в первую очередь, конец раздражающих рывков анимации в самые зрелищные моменты. PSSR 2.0 позволит разработчикам поддерживать более высокое базовое разрешение, что приведёт к более чётким текстурам и меньшему количеству графических артефактов, на которые жаловались пользователи некоторых игр после дебюта PS5 Pro.
Новая версия технологии должна попасть в наборы для разработчиков в ближайшие месяцы, что позволяет предположить, что первые игры, использующие этот стандарт, мы увидим ещё в этом году.
Стоит отметить, что Sony делает ставку на программную оптимизацию как на главный способ повышения привлекательности своей самой мощной консоли. В условиях роста цен на комплектующие, такие как оперативная память, японский гигант планирует избежать подорожания самого аппаратного обеспечения, предлагая взамен всё лучшее качество изображения благодаря бесплатным системным обновлениям.

















0 комментариев