Патент Microsoft раскрывает модульную конструкцию HoloLens 3
Наступает золотой век AR и VR. Данные технологии становятся все более популярными, особенно после появления Apple Vision Pro. Однако Apple не единственный игрок на этом рынке. Microsoft уже давно выпускает очки виртуальной и дополненной реальности под названием HoloLens.
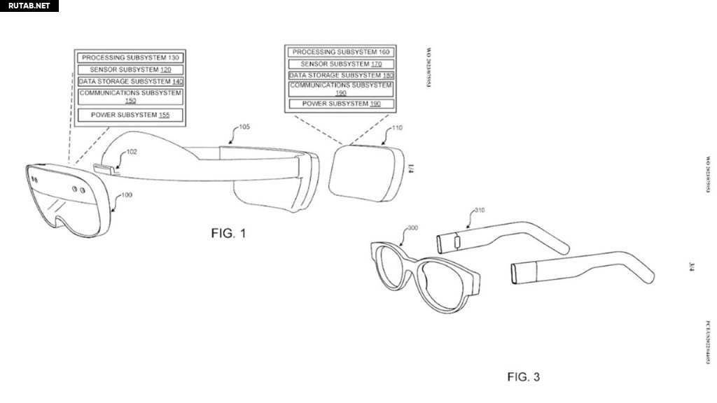
Теперь у компании есть новый патент, который предлагает модульную HoloLens 3. Это потенциально может сделать технологию смешанной реальности более специализированной, адаптируемой и доступной для различных пользователей.
Если вы технический энтузиаст, патентные заявки могут быть для вас весьма интересными. Хотя эти процедуры могут показаться просто бумажной работой, на самом деле они дают подсказки о будущих планах технологических компаний, за которыми мы внимательно следим. Патент Microsoft, основанный на технологии смешанной реальности, сочетающей AR и VR, содержит подсказки о том, на что будет похожи долгожданные очки HoloLens 3.


Самая любопытная деталь в патенте Microsoft HoloLens 3 заключается в том, что устройство будет иметь модульную и простую структуру. Это означает, что по мере увеличения числа пользователей модули могут добавляться по мере необходимости, что позволяет пользователям обмениваться различными модулями в зависимости от их использования. Учитывая, что у компании даже есть контракт с армией США и она используется во многих сферах делового мира, это вполне функциональная разработка. Описание патента выглядит следующим образом:
«Модуль датчика и дисплея может включать в себя стандартный интерфейс для крепления к различным подгоночным системам, включая, например, оголовье, VR-гарнитуру, дужки для очков, шлем и тому подобное. В некоторых вариантах может быть предусмотрен дополнительный модуль, такой как модуль заднего крепления, который может обеспечивать вспомогательные вычислительные ресурсы, ресурсы хранения и питания для модульного модуля датчика и дисплея.»
Безусловно, патент сам по себе не гарантирует появление модульной гарнитуры HoloLens 3. Однако, как мы упоминали выше, гарнитуры AR/VR с каждым днем становятся все популярнее. Поэтому есть большая вероятность, что компания претворит свои планы в жизнь, чтобы не потерять рынок из-за доминирования Apple.












0 комментариев