Китайский бизнесмен попытался зарегистрировать торговую марку «Xiaomi Chip», но получил отказ
20 мая 2025 года стало известно, что китайская компания Xiaomi готовится представить свой новый чипсет, однако перед релизом столкнулась с неожиданной проблемой. Оказалось, что еще в феврале этого года некий частный предприниматель попытался зарегистрировать торговую марку «Xiaomi Chip» в категории медицинских товаров.
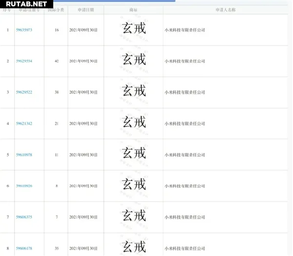
Как сообщает национальное управление интеллектуальной собственности Китая, заявка была отклонена. Это произошло благодаря тому, что сама Xiaomi еще в сентябре 2021 года начала регистрацию товарных знаков, связанных с полупроводниковым подразделением компании под названием «Xuanjie».
Основатель Xiaomi Лэй Цзюнь подтвердил, что разработка собственных процессоров стала одним из ключевых направлений развития компании. За последние четыре года на эти цели было потрачено более 135 миллиардов рублей, а численность команды разработчиков превысила 2500 человек.
«По масштабам инвестиций и размеру команды мы входим в тройку лидеров среди китайских разработчиков полупроводников», — заявил Лэй Цзюнь.
Также стало известно, что Xiaomi уже начала массовое производство нового 3-нм чипа. Первыми устройствами с этим процессором станут смартфон Xiaomi 15S Pro и планшет компании.


ИИ: Попытка регистрации чужого бренда — распространенная практика в Китае, но система защиты интеллектуальной собственности в стране становится все более эффективной. Успешный отказ в регистрации конкурентам демонстрирует зрелость правовой системы и серьезные намерения Xiaomi в области разработки собственных чипов.









0 комментариев