Sony запатентовала ИИ-помощника для геймеров, который подскажет, куда идти и что делать
Sony продолжает искать решения, которые облегчат игрокам взаимодействие с видеоиграми. Компания разработала патент, который в будущем может помочь в решении возникающих в играх проблем.
Sony уже давно вносит свой вклад в развитие опций доступности в играх, чтобы сделать их более удобными для максимально широкой аудитории. Теперь компания сделала ещё один шаг в этом направлении.
Нынешнее поколение консолей, помимо модификации отдельных аспектов игры, предоставило функцию, показывающую, что делать в случае застревания на определённом этапе, как решить сложную головоломку или где найти скрытые предметы, необходимые для получения уникальных трофеев. Изначально это были решения, подготовленные разработчиками, но со временем появилась возможность просмотра видеоклипов с прохождениями, подготовленными другими пользователями PS5. Однако Sony на этом не остановилась.
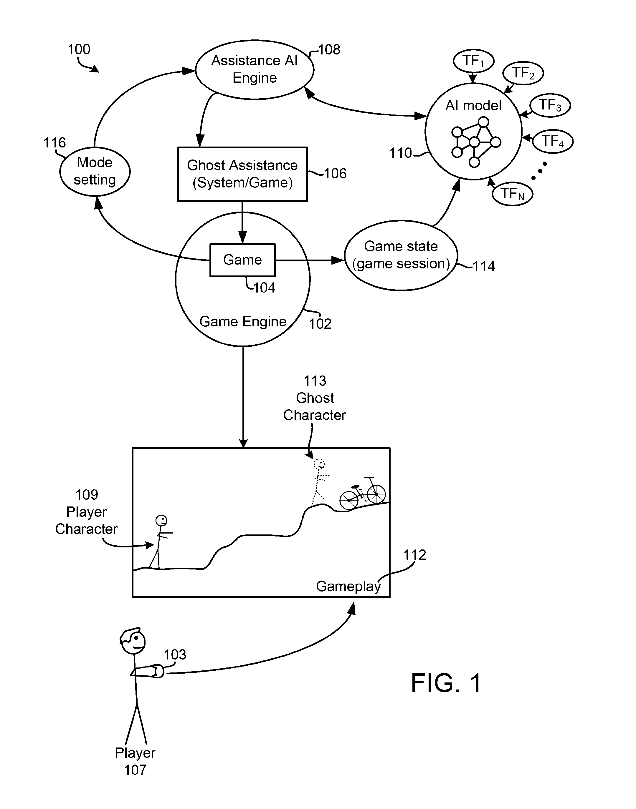
Ресурс Boing Boing недавно обнаружил, что Sony удалось запатентовать способ создания ИИ-ассистента в играх. Компания разработала технологию, благодаря которой по запросу игрока может появиться «призрак», который укажет, как продвинуть сюжет вперёд, даст совет и даже самостоятельно пройдёт проблемную последовательность. Это станет возможным благодаря тому, что искусственный интеллект будет анализировать игровой процесс, записанный на видео, которые выкладываются в интернет или транслируются в прямом эфире.
Конечно, патентование такой системы не означает, что в ближайшем будущем игры на PlayStation 5 будут проходить сами себя. Однако это явный сигнал о том, что Sony хочет развивать идеи, уже присутствующие в функции Game Help.











0 комментариев