Apple запатентовала будущие клавиатуры MacBook с динамическим отображением символов
Apple подала патент на клавиатуру, которая потенциально может революционизировать способ печати. Новая патентная заявка, опубликованная на этой неделе Управлением по патентам и товарным знакам США, показывает, что Apple работает над технологией, которая позволит будущим клавиатурам отображать разные символы в зависимости от контекста.
В настоящее время технология подсветки в клавиатурах Apple MacBook служит только для того, чтобы клавиши были видны в темноте. Сами клавиши помечены предварительно напечатанными символами, которые являются статическими и не могут быть изменены, а также потенциально подвержены износу при длительном использовании.

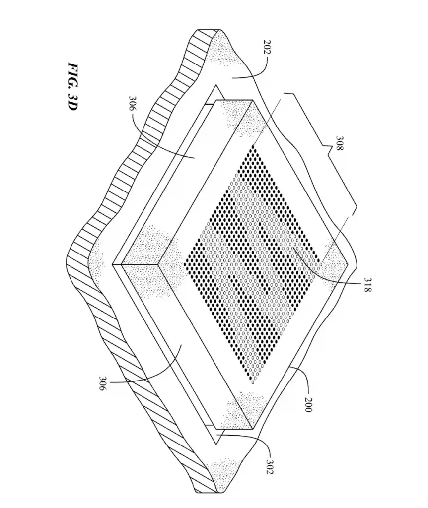
Патентная заявка, опубликованная на этой неделе, решает эти проблемы, представляя клавиатуру, в которой каждая клавиша имеет перфорацию в верхнем и нижнем слоях. Подсветка под клавиатурой сможет подсвечивать каждую клавишу, отображая различные символы и буквы. Когда клавиатура активирована, глифы для каждой из клавишных колпачков могут появляться на клавишах благодаря свету, излучаемому через клавишные колпачки.


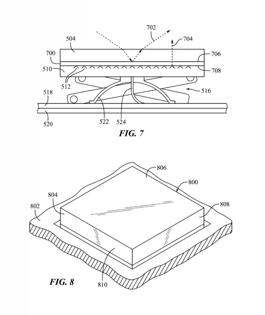
В заявке на патент также представлен другой сценарий, в котором источником света является «массив светодиодов, такой как дисплей, использующий микро-светодиодные или OLED-пиксели». Это будет более продвинутая реализация идеи, с дополнительными элементами управления, параметрами настройки и общей гибкостью. В этом сценарии количество перфораций в колпачках клавиш может соответствовать количеству пикселей дисплея, так что каждый отдельный пиксель дисплея может обеспечивать свет для одной единственной перфорации.
Это позволит управлять дисплеями/источниками света для создания глифов, которые можно изменять или настраивать между различными формами, буквами, цветами, символами, анимацией, языками и другими функциями.
Заявка Apple также включает в себя несколько изображений, показывающих макеты того, как эта технология может работать. В патентной заявке поясняется, что с помощью этой конструкции колпачки клавиш клавиатуры могут быть изготовлены из материалов, которые обычно не используются в колпачках для обычных клавиатур, таких как металлы, включая алюминий.
Важно отметить, что это всего лишь заявка на патент, и нет никаких гарантий, что эта технология будет разработана или внедрена в устройствах Apple.












0 комментариев